DCS Applications and Hardware Structure of Plant Automation
Learning

DCS Applications and Hardware Structure of Plant Automation

1536 × 1079 px November 27, 2024 Ashley Learning
Download

In the realm of industrial automation, Process Control DCS Images play a pivotal role in visualizing and managing complex systems. Distributed Control Systems (DCS) are integral to modern industrial processes, providing real-time monitoring, control, and data acquisition. These systems rely heavily on visual interfaces to present data in a comprehensible manner, enabling operators to make informed decisions swiftly. This blog post delves into the significance of Process Control DCS Images, their applications, and the technologies that support them.

Understanding Process Control DCS Images

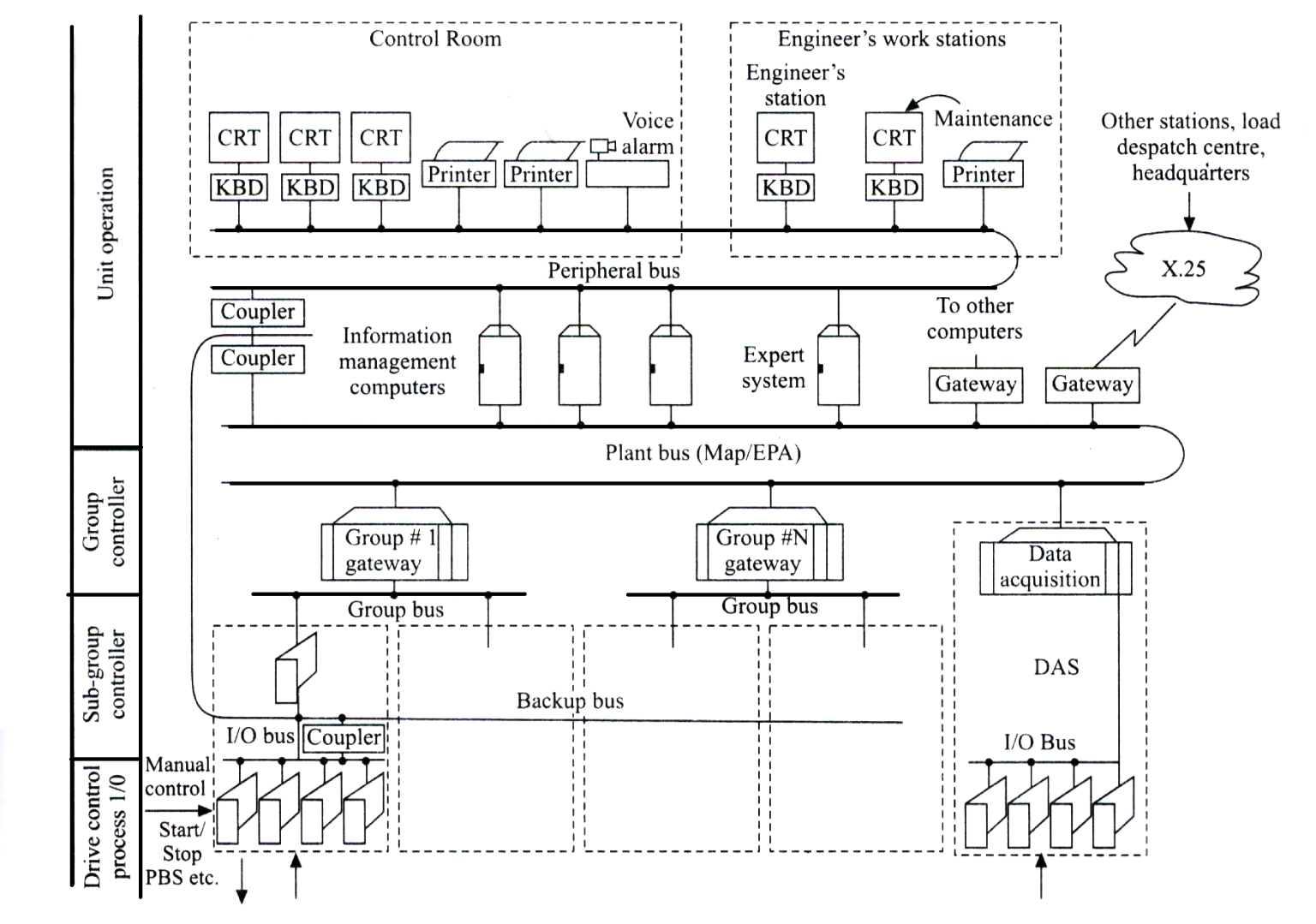
Process Control DCS Images are graphical representations used in Distributed Control Systems to depict the status and operation of various industrial processes. These images are crucial for operators and engineers to monitor and control processes in real-time. They provide a visual interface that simplifies the complex data generated by sensors, actuators, and other control devices.

DCS images typically include:

  • Piping and Instrumentation Diagrams (P&IDs)
  • Flowcharts
  • Control loops
  • Alarm and event logs
  • Historical data trends

These visual elements help in understanding the interconnections and dependencies within the system, making it easier to identify and resolve issues promptly.

Applications of Process Control DCS Images

Process Control DCS Images are used across various industries, each with its unique requirements and challenges. Some of the key industries that benefit from these images include:

  • Oil and Gas: Monitoring and controlling drilling operations, refining processes, and pipeline management.
  • Chemical Processing: Managing batch and continuous processes, ensuring safety and efficiency in chemical reactions.
  • Power Generation: Controlling boilers, turbines, and generators to optimize energy production.
  • Pharmaceuticals: Ensuring precise control over manufacturing processes to meet regulatory standards.
  • Food and Beverage: Maintaining quality and consistency in production lines.

In each of these industries, Process Control DCS Images provide a unified view of the process, enabling better coordination and decision-making.

Technologies Supporting Process Control DCS Images

The effectiveness of Process Control DCS Images is heavily dependent on the underlying technologies that support them. Key technologies include:

  • Supervisory Control and Data Acquisition (SCADA): Often integrated with DCS, SCADA systems provide additional layers of monitoring and control, enhancing the capabilities of DCS images.
  • Human-Machine Interface (HMI): HMIs are the graphical user interfaces that display Process Control DCS Images. They allow operators to interact with the system, view real-time data, and control processes.
  • Programmable Logic Controllers (PLCs): PLCs execute control logic and communicate with DCS to update the visual interfaces with real-time data.
  • Industrial Internet of Things (IIoT): IIoT devices collect and transmit data from various points in the process, enriching the information displayed in Process Control DCS Images.

These technologies work in tandem to ensure that Process Control DCS Images are accurate, up-to-date, and user-friendly.

Designing Effective Process Control DCS Images

Creating effective Process Control DCS Images requires a blend of technical expertise and design principles. Here are some key considerations:

  • Clarity and Simplicity: The images should be easy to understand, avoiding clutter and unnecessary details.
  • Consistency: Use a consistent color scheme, symbols, and layout to make the images intuitive.
  • Real-Time Data Integration: Ensure that the images update in real-time to reflect the current status of the process.
  • Interactivity: Allow operators to interact with the images, such as zooming in, drilling down into specific areas, or accessing detailed information.
  • Alarm and Notification Systems: Integrate alarm and notification systems to alert operators to critical events or deviations from normal operation.

By adhering to these principles, designers can create Process Control DCS Images that enhance operational efficiency and safety.

Challenges in Implementing Process Control DCS Images

While Process Control DCS Images offer numerous benefits, their implementation is not without challenges. Some of the key challenges include:

  • Data Overload: The sheer volume of data generated by industrial processes can be overwhelming. Effective filtering and visualization techniques are essential to manage this data.
  • Integration with Legacy Systems: Many industrial facilities have legacy systems that may not be fully compatible with modern DCS. Ensuring seamless integration can be complex and time-consuming.
  • Security Concerns: Industrial control systems are attractive targets for cyber-attacks. Implementing robust security measures is crucial to protect Process Control DCS Images and the underlying data.
  • Training and Expertise: Operators and engineers need to be trained to effectively use Process Control DCS Images. This requires ongoing education and support.

Addressing these challenges requires a comprehensive approach that includes careful planning, robust technology, and continuous improvement.

🔍 Note: Regular updates and maintenance of Process Control DCS Images are essential to ensure they remain accurate and effective.

The field of Process Control DCS Images is continually evolving, driven by advancements in technology and changing industry needs. Some of the emerging trends include:

  • Augmented Reality (AR) and Virtual Reality (VR): AR and VR technologies are being integrated into DCS to provide immersive and interactive visualizations of industrial processes.
  • Artificial Intelligence (AI) and Machine Learning (ML): AI and ML algorithms can analyze vast amounts of data to provide predictive insights and recommendations, enhancing the decision-making capabilities of operators.
  • Cloud-Based Solutions: Cloud computing enables remote access to Process Control DCS Images, allowing for centralized monitoring and control of distributed processes.
  • Edge Computing: Edge computing brings data processing closer to the source, reducing latency and improving the responsiveness of Process Control DCS Images.

These trends are poised to revolutionize the way Process Control DCS Images are used, making them more powerful and versatile tools for industrial automation.

In the oil and gas industry, Process Control DCS Images are particularly crucial. They help in monitoring and controlling various stages of the oil and gas production process, from exploration and drilling to refining and distribution. The images provide a comprehensive view of the entire pipeline, enabling operators to detect and respond to issues quickly. For example, a sudden drop in pressure or an increase in temperature can be immediately identified and addressed, preventing potential disasters.

In the chemical processing industry, Process Control DCS Images are essential for managing complex chemical reactions and ensuring safety. The images help in monitoring parameters such as temperature, pressure, and flow rates, allowing operators to maintain optimal conditions for the reactions. This not only improves the efficiency of the process but also ensures the safety of the workers and the environment.

In the power generation industry, Process Control DCS Images play a critical role in optimizing energy production. They help in monitoring and controlling boilers, turbines, and generators, ensuring that they operate at peak efficiency. The images provide real-time data on energy output, fuel consumption, and emissions, enabling operators to make adjustments as needed to maximize efficiency and minimize environmental impact.

In the pharmaceutical industry, Process Control DCS Images are used to ensure precise control over manufacturing processes. The images help in monitoring parameters such as temperature, pressure, and humidity, ensuring that the products meet regulatory standards. This is particularly important in the production of drugs, where even small variations in the manufacturing process can have significant impacts on the quality and efficacy of the final product.

In the food and beverage industry, Process Control DCS Images are essential for maintaining quality and consistency in production lines. The images help in monitoring parameters such as temperature, pressure, and flow rates, ensuring that the products are produced to the highest standards. This not only improves the quality of the products but also enhances customer satisfaction and loyalty.

In the manufacturing industry, Process Control DCS Images are used to monitor and control various stages of the production process. The images provide a comprehensive view of the entire production line, enabling operators to detect and respond to issues quickly. For example, a sudden increase in vibration or a decrease in speed can be immediately identified and addressed, preventing potential downtime and ensuring continuous production.

In the water treatment industry, Process Control DCS Images are essential for monitoring and controlling the treatment process. The images help in monitoring parameters such as pH, turbidity, and chlorine levels, ensuring that the water meets regulatory standards. This not only improves the quality of the water but also ensures the safety of the public.

In the mining industry, Process Control DCS Images are used to monitor and control various stages of the mining process. The images provide a comprehensive view of the entire mining operation, enabling operators to detect and respond to issues quickly. For example, a sudden increase in vibration or a decrease in speed can be immediately identified and addressed, preventing potential disasters and ensuring continuous production.

In the automotive industry, Process Control DCS Images are used to monitor and control various stages of the manufacturing process. The images provide a comprehensive view of the entire production line, enabling operators to detect and respond to issues quickly. For example, a sudden increase in vibration or a decrease in speed can be immediately identified and addressed, preventing potential downtime and ensuring continuous production.

In the aerospace industry, Process Control DCS Images are used to monitor and control various stages of the manufacturing process. The images provide a comprehensive view of the entire production line, enabling operators to detect and respond to issues quickly. For example, a sudden increase in vibration or a decrease in speed can be immediately identified and addressed, preventing potential disasters and ensuring continuous production.

In the construction industry, Process Control DCS Images are used to monitor and control various stages of the construction process. The images provide a comprehensive view of the entire construction site, enabling operators to detect and respond to issues quickly. For example, a sudden increase in vibration or a decrease in speed can be immediately identified and addressed, preventing potential disasters and ensuring continuous production.

In the agriculture industry, Process Control DCS Images are used to monitor and control various stages of the farming process. The images provide a comprehensive view of the entire farm, enabling operators to detect and respond to issues quickly. For example, a sudden increase in temperature or a decrease in humidity can be immediately identified and addressed, preventing potential disasters and ensuring continuous production.

In the healthcare industry, Process Control DCS Images are used to monitor and control various stages of the patient care process. The images provide a comprehensive view of the entire healthcare facility, enabling operators to detect and respond to issues quickly. For example, a sudden increase in heart rate or a decrease in blood pressure can be immediately identified and addressed, preventing potential disasters and ensuring continuous care.

In the retail industry, Process Control DCS Images are used to monitor and control various stages of the sales process. The images provide a comprehensive view of the entire retail operation, enabling operators to detect and respond to issues quickly. For example, a sudden increase in customer traffic or a decrease in sales can be immediately identified and addressed, preventing potential disasters and ensuring continuous sales.

In the logistics industry, Process Control DCS Images are used to monitor and control various stages of the supply chain process. The images provide a comprehensive view of the entire supply chain, enabling operators to detect and respond to issues quickly. For example, a sudden increase in delivery times or a decrease in inventory levels can be immediately identified and addressed, preventing potential disasters and ensuring continuous supply.

In the telecommunications industry, Process Control DCS Images are used to monitor and control various stages of the communication process. The images provide a comprehensive view of the entire communication network, enabling operators to detect and respond to issues quickly. For example, a sudden increase in network traffic or a decrease in signal strength can be immediately identified and addressed, preventing potential disasters and ensuring continuous communication.

In the energy industry, Process Control DCS Images are used to monitor and control various stages of the energy production process. The images provide a comprehensive view of the entire energy network, enabling operators to detect and respond to issues quickly. For example, a sudden increase in energy consumption or a decrease in energy production can be immediately identified and addressed, preventing potential disasters and ensuring continuous energy supply.

In the transportation industry, Process Control DCS Images are used to monitor and control various stages of the transportation process. The images provide a comprehensive view of the entire transportation network, enabling operators to detect and respond to issues quickly. For example, a sudden increase in traffic congestion or a decrease in vehicle speed can be immediately identified and addressed, preventing potential disasters and ensuring continuous transportation.

In the hospitality industry, Process Control DCS Images are used to monitor and control various stages of the guest experience process. The images provide a comprehensive view of the entire hospitality operation, enabling operators to detect and respond to issues quickly. For example, a sudden increase in guest complaints or a decrease in guest satisfaction can be immediately identified and addressed, preventing potential disasters and ensuring continuous guest satisfaction.

In the entertainment industry, Process Control DCS Images are used to monitor and control various stages of the entertainment process. The images provide a comprehensive view of the entire entertainment operation, enabling operators to detect and respond to issues quickly. For example, a sudden increase in audience attendance or a decrease in audience engagement can be immediately identified and addressed, preventing potential disasters and ensuring continuous entertainment.

In the education industry, Process Control DCS Images are used to monitor and control various stages of the learning process. The images provide a comprehensive view of the entire educational operation, enabling operators to detect and respond to issues quickly. For example, a sudden increase in student absenteeism or a decrease in student performance can be immediately identified and addressed, preventing potential disasters and ensuring continuous learning.

In the finance industry, Process Control DCS Images are used to monitor and control various stages of the financial process. The images provide a comprehensive view of the entire financial operation, enabling operators to detect and respond to issues quickly. For example, a sudden increase in transaction volumes or a decrease in financial stability can be immediately identified and addressed, preventing potential disasters and ensuring continuous financial stability.

In the real estate industry, Process Control DCS Images are used to monitor and control various stages of the property management process. The images provide a comprehensive view of the entire real estate operation, enabling operators to detect and respond to issues quickly. For example, a sudden increase in property values or a decrease in property maintenance can be immediately identified and addressed, preventing potential disasters and ensuring continuous property management.

In the legal industry, Process Control DCS Images are used to monitor and control various stages of the legal process. The images provide a comprehensive view of the entire legal operation, enabling operators to detect and respond to issues quickly. For example, a sudden increase in case loads or a decrease in legal compliance can be immediately identified and addressed, preventing potential disasters and ensuring continuous legal compliance.

In the media industry, Process Control DCS Images are used to monitor and control various stages of the media production process. The images provide a comprehensive view of the entire media operation, enabling operators to detect and respond to issues quickly. For example, a sudden increase in media consumption or a decrease in media quality can be immediately identified and addressed, preventing potential disasters and ensuring continuous media production.

In the publishing industry, Process Control DCS Images are used to monitor and control various stages of the publishing process. The images provide a comprehensive view of the entire publishing operation, enabling operators to detect and respond to issues quickly. For example, a sudden increase in publication volumes or a decrease in publication quality can be immediately identified and addressed, preventing potential disasters and ensuring continuous publication.

In the advertising industry, Process Control DCS Images are used to monitor and control various stages of the advertising process. The images provide a comprehensive view of the entire advertising operation, enabling operators to detect and respond to issues quickly. For example, a sudden increase in advertising spend or a decrease in advertising effectiveness can be immediately identified and addressed, preventing potential disasters and ensuring continuous advertising effectiveness.

In the marketing industry, Process Control DCS Images are used to monitor and control various stages of the marketing process. The images provide a comprehensive view of the entire marketing operation, enabling operators to detect and respond to issues quickly. For example, a sudden increase in marketing campaigns or a decrease in marketing ROI can be immediately identified and addressed, preventing potential disasters and ensuring continuous marketing effectiveness.

In the consulting industry, Process Control DCS Images are used to monitor and control various stages of the consulting process. The images provide a comprehensive view of the entire consulting operation, enabling operators to detect and respond to issues quickly. For example, a sudden increase in client demands or a decrease in client satisfaction can be immediately identified and addressed, preventing potential disasters and ensuring continuous client satisfaction.

In the non-profit industry, Process Control DCS Images are used to monitor and control various stages of the non-profit process. The images provide a comprehensive view of the entire non-profit operation, enabling operators to detect and respond to issues quickly. For example, a sudden increase in donor contributions or a decrease in program effectiveness can be immediately identified and addressed, preventing potential disasters and ensuring continuous program effectiveness.

In the government industry, Process Control DCS Images are used to monitor and control various stages of the government process. The images provide a comprehensive view of the entire government operation, enabling operators to detect and respond to issues quickly. For example, a sudden increase in public demand or a decrease in government efficiency can be immediately identified and addressed, preventing potential disasters and ensuring continuous government efficiency.

In the healthcare industry, Process Control DCS Images are used to monitor and control various stages of the patient care process. The images provide a comprehensive view of the entire healthcare facility, enabling operators to detect and respond to issues quickly. For example, a sudden increase in patient admissions or a decrease in patient satisfaction can be immediately identified and addressed, preventing potential disasters and ensuring continuous patient care.

In the education industry, Process Control DCS Images are used to monitor and control various stages of the learning process. The images provide a comprehensive view of the entire educational operation, enabling operators to detect and respond to issues quickly. For example, a sudden increase in student enrollment or a decrease in student performance can be immediately identified and addressed, preventing potential disasters and ensuring continuous learning.

In the finance industry, Process Control DCS Images are used to monitor and control various stages of the financial process. The images provide a comprehensive view of the entire financial operation, enabling operators to detect and respond to issues quickly. For example, a sudden increase in financial transactions or a decrease in financial stability can be immediately identified and addressed, preventing potential disasters and ensuring continuous financial stability.

In the real estate industry, Process Control DCS Images are used to monitor and control various stages of the property management process. The images provide a comprehensive view of the entire real estate operation, enabling operators to detect and respond to issues quickly. For example, a sudden increase in property values or a decrease in property maintenance can be immediately identified and addressed, preventing potential disasters and ensuring continuous property

Related Terms:

  • dcs data control system
  • full form of dcs system
  • dcs control loops
  • dcs full form in instrumentation
  • dcs system overview
  • distribution control system dcs

More Images