Successive Approximation Adc Converter

Successive Approximation Adc Converter

In the realm of analog-to-digital conversion, the Successive Approximation ADC Converter stands out as a pivotal technology. This type of analog-to-digital converter (ADC) is widely used in various applications due to its efficiency, speed, and accuracy. Understanding the principles and applications of a Successive Approximation ADC Converter can provide valuable insights into modern electronic systems.

Understanding Successive Approximation ADC Converters

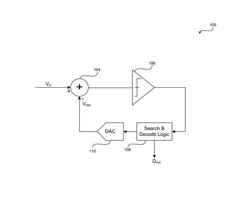
A Successive Approximation ADC Converter operates by converting an analog input signal into a digital output through a series of successive approximations. This process involves comparing the input signal to a reference voltage and adjusting the digital output bit by bit until the closest match is found. The key components of a Successive Approximation ADC include:

  • A sample-and-hold circuit to capture the analog input signal.
  • A digital-to-analog converter (DAC) to generate the reference voltage.
  • A comparator to compare the input signal with the reference voltage.
  • A successive approximation register (SAR) to control the conversion process.

The conversion process begins with the sample-and-hold circuit capturing the analog input signal. The SAR then initiates the conversion by setting the most significant bit (MSB) of the digital output to 1. The DAC converts this digital value back to an analog signal, which is then compared to the input signal by the comparator. If the DAC output is greater than the input signal, the MSB is reset to 0; otherwise, it remains 1. This process is repeated for each subsequent bit, moving from the MSB to the least significant bit (LSB).

Advantages of Successive Approximation ADC Converters

The Successive Approximation ADC Converter offers several advantages that make it a popular choice in many applications:

  • High Speed: Successive Approximation ADCs can achieve high conversion speeds, making them suitable for real-time applications.
  • Accuracy: These converters provide high accuracy, especially in applications requiring precise measurements.
  • Power Efficiency: Successive Approximation ADCs are generally power-efficient, making them ideal for battery-operated devices.
  • Simplicity: The design of Successive Approximation ADCs is relatively simple, which reduces complexity and cost.

These advantages make Successive Approximation ADCs a versatile choice for a wide range of applications, from consumer electronics to industrial automation.

Applications of Successive Approximation ADC Converters

The versatility of Successive Approximation ADC Converters makes them suitable for various applications. Some of the key areas where these converters are commonly used include:

  • Consumer Electronics: Successive Approximation ADCs are used in devices like smartphones, tablets, and digital cameras for capturing and processing analog signals.
  • Industrial Automation: In industrial settings, these converters are employed for monitoring and controlling processes that require precise analog measurements.
  • Medical Devices: Successive Approximation ADCs are crucial in medical equipment for accurate signal processing, such as in ECG machines and blood pressure monitors.
  • Automotive Systems: These converters are used in automotive applications for sensing and controlling various parameters, such as engine performance and safety systems.

In addition to these applications, Successive Approximation ADCs are also used in communication systems, audio processing, and scientific instrumentation.

Design Considerations for Successive Approximation ADC Converters

When designing a Successive Approximation ADC Converter, several factors need to be considered to ensure optimal performance:

  • Resolution: The resolution of the ADC determines the number of bits in the digital output. Higher resolution provides more accurate measurements but requires more conversion steps.
  • Sampling Rate: The sampling rate affects the speed at which the ADC can convert analog signals. Higher sampling rates are necessary for real-time applications.
  • Power Consumption: Power efficiency is crucial, especially for battery-operated devices. Designing the ADC to minimize power consumption is essential.
  • Noise and Interference: The ADC must be designed to minimize noise and interference, which can affect the accuracy of the conversion process.

By carefully considering these factors, designers can create Successive Approximation ADCs that meet the specific requirements of their applications.

Comparison with Other ADC Types

To fully appreciate the benefits of a Successive Approximation ADC Converter, it is useful to compare it with other types of ADCs:

ADC Type Conversion Speed Accuracy Power Consumption Complexity
Successive Approximation ADC High High Low to Medium Medium
Flash ADC Very High Medium High High
Sigma-Delta ADC Low to Medium Very High Low High
Pipelined ADC High High Medium to High High

Each type of ADC has its strengths and weaknesses, making them suitable for different applications. The Successive Approximation ADC Converter stands out for its balance of speed, accuracy, and power efficiency.

Challenges and Limitations

While Successive Approximation ADC Converters offer numerous advantages, they also face certain challenges and limitations:

  • Non-Linear Errors: Successive Approximation ADCs can be susceptible to non-linear errors, which can affect the accuracy of the conversion process.
  • Component Tolerances: The performance of the ADC can be influenced by the tolerances of its components, such as the DAC and comparator.
  • Temperature Sensitivity: Changes in temperature can affect the performance of the ADC, requiring temperature compensation techniques.

Addressing these challenges involves careful design and calibration to ensure the ADC operates within the required specifications.

🔍 Note: Proper calibration and temperature compensation are essential for maintaining the accuracy of Successive Approximation ADCs in varying environmental conditions.

The field of analog-to-digital conversion is continually evolving, and Successive Approximation ADC Converters are no exception. Future trends in this technology include:

  • Increased Resolution: Advances in semiconductor technology are enabling higher resolution Successive Approximation ADCs, providing even more accurate measurements.
  • Enhanced Power Efficiency: Research is focused on developing more power-efficient ADCs, which is crucial for battery-operated devices and IoT applications.
  • Integration with Digital Systems: Successive Approximation ADCs are being integrated more closely with digital systems, enabling seamless data processing and analysis.
  • Advanced Calibration Techniques: New calibration techniques are being developed to improve the accuracy and reliability of Successive Approximation ADCs.

These trends are driving the development of more advanced and versatile Successive Approximation ADCs, expanding their applications in various industries.

In conclusion, the Successive Approximation ADC Converter is a critical technology in the field of analog-to-digital conversion. Its high speed, accuracy, and power efficiency make it a popular choice for a wide range of applications. By understanding the principles, advantages, and design considerations of Successive Approximation ADCs, engineers can leverage this technology to create innovative and efficient electronic systems. As the technology continues to evolve, the future of Successive Approximation ADCs looks promising, with advancements in resolution, power efficiency, and integration with digital systems.

Related Terms:

  • successive approximation register adc
  • successive approximation register
  • successive approximation adc block diagram
  • successive approximation adc example
  • successive approximation adc explained
  • successive approximation adc ppt