Ratchet And Pawl Mechanism

Ratchet And Pawl Mechanism

In the world of mechanical engineering, few mechanisms are as fundamental and versatile as the ratchet and pawl mechanism. This ingenious device allows for motion in one direction while preventing it in the opposite direction. From simple tools to complex machinery, the ratchet and pawl mechanism plays a crucial role in ensuring smooth and controlled operation. This post delves into the intricacies of the ratchet and pawl mechanism, exploring its components, applications, and the principles that govern its operation.

Understanding the Ratchet and Pawl Mechanism

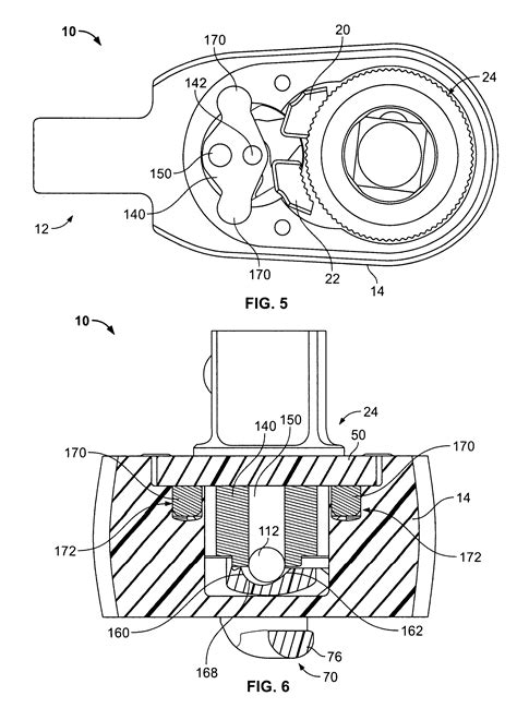
The ratchet and pawl mechanism is a simple yet effective device that allows for unidirectional motion. It consists of two primary components: the ratchet and the pawl. The ratchet is a toothed wheel or bar, while the pawl is a spring-loaded lever that engages with the teeth of the ratchet. When the ratchet moves in one direction, the pawl slides over the teeth, allowing motion. However, when the ratchet attempts to move in the opposite direction, the pawl catches on the teeth, preventing movement.

Components of the Ratchet and Pawl Mechanism

The ratchet and pawl mechanism is composed of several key components, each playing a crucial role in its operation. Understanding these components is essential for appreciating how the mechanism functions.

  • Ratchet: This is the toothed wheel or bar that engages with the pawl. The teeth on the ratchet are designed to allow the pawl to slide over them in one direction while catching on them in the opposite direction.
  • Pawl: The pawl is a spring-loaded lever that engages with the teeth of the ratchet. It is designed to allow motion in one direction while preventing it in the opposite direction.
  • Spring: The spring provides the necessary force to keep the pawl engaged with the ratchet. It ensures that the pawl remains in contact with the teeth, allowing for smooth and controlled operation.
  • Housing: The housing encloses the ratchet and pawl, providing structural support and protection. It ensures that the components remain in the correct position and prevents external interference.

Principles of Operation

The ratchet and pawl mechanism operates on the principle of unidirectional motion. When the ratchet moves in the allowed direction, the pawl slides over the teeth, allowing smooth motion. However, when the ratchet attempts to move in the opposite direction, the pawl catches on the teeth, preventing movement. This principle is fundamental to the operation of the ratchet and pawl mechanism and is utilized in a wide range of applications.

To better understand the operation of the ratchet and pawl mechanism, consider the following steps:

  1. Engagement: The pawl engages with the teeth of the ratchet, allowing motion in one direction. The spring ensures that the pawl remains in contact with the teeth, providing the necessary force for engagement.
  2. Motion: As the ratchet moves in the allowed direction, the pawl slides over the teeth, allowing smooth motion. The design of the teeth and the pawl ensures that the pawl can slide over them without catching.
  3. Locking: When the ratchet attempts to move in the opposite direction, the pawl catches on the teeth, preventing movement. The design of the teeth and the pawl ensures that the pawl cannot slide over them in the opposite direction.
  4. Release: To allow motion in the opposite direction, the pawl must be disengaged from the ratchet. This can be achieved by applying a force to the pawl, causing it to lift off the teeth and allowing the ratchet to move freely.

📝 Note: The design of the teeth and the pawl is crucial for the smooth operation of the ratchet and pawl mechanism. The teeth should be designed to allow the pawl to slide over them in one direction while catching on them in the opposite direction. The pawl should be designed to provide the necessary force for engagement while allowing smooth motion in the allowed direction.

Applications of the Ratchet and Pawl Mechanism

The ratchet and pawl mechanism finds applications in a wide range of industries and devices. Its ability to allow unidirectional motion makes it an essential component in many mechanical systems. Some of the most common applications of the ratchet and pawl mechanism include:

  • Hand Tools: Ratchet wrenches and screwdrivers are common examples of hand tools that utilize the ratchet and pawl mechanism. These tools allow for the tightening or loosening of fasteners in one direction while preventing movement in the opposite direction.
  • Automotive: In the automotive industry, the ratchet and pawl mechanism is used in various applications, including steering systems, seat adjustments, and window regulators. It ensures smooth and controlled operation of these components.
  • Industrial Machinery: The ratchet and pawl mechanism is used in industrial machinery to control the movement of components. It ensures that components move in the desired direction while preventing unwanted movement.
  • Consumer Products: Many consumer products, such as clocks, watches, and toys, utilize the ratchet and pawl mechanism. It ensures that these products operate smoothly and reliably.

Types of Ratchet and Pawl Mechanisms

The ratchet and pawl mechanism comes in various types, each designed for specific applications. Understanding the different types of ratchet and pawl mechanisms is essential for selecting the right one for a particular application. Some of the most common types include:

  • Linear Ratchet and Pawl: This type of ratchet and pawl mechanism is used in applications where linear motion is required. It consists of a toothed bar and a pawl that engages with the teeth, allowing motion in one direction while preventing it in the opposite direction.
  • Rotary Ratchet and Pawl: This type of ratchet and pawl mechanism is used in applications where rotational motion is required. It consists of a toothed wheel and a pawl that engages with the teeth, allowing motion in one direction while preventing it in the opposite direction.
  • Reversible Ratchet and Pawl: This type of ratchet and pawl mechanism allows for motion in both directions. It consists of a toothed wheel or bar and a pawl that can be engaged or disengaged as needed, allowing for bidirectional motion.
  • Self-Locking Ratchet and Pawl: This type of ratchet and pawl mechanism automatically locks when the ratchet attempts to move in the opposite direction. It is designed to provide a high level of security and reliability, making it ideal for applications where safety is a concern.

Design Considerations

When designing a ratchet and pawl mechanism, several factors must be considered to ensure smooth and reliable operation. These factors include:

  • Material Selection: The materials used in the construction of the ratchet and pawl mechanism must be selected based on the application requirements. Factors such as strength, durability, and resistance to wear and corrosion must be considered.
  • Tooth Design: The design of the teeth on the ratchet is crucial for the smooth operation of the ratchet and pawl mechanism. The teeth must be designed to allow the pawl to slide over them in one direction while catching on them in the opposite direction.
  • Pawl Design: The design of the pawl must provide the necessary force for engagement while allowing smooth motion in the allowed direction. The pawl must also be designed to withstand the forces exerted on it during operation.
  • Spring Selection: The spring used in the ratchet and pawl mechanism must provide the necessary force to keep the pawl engaged with the ratchet. The spring must also be designed to withstand the forces exerted on it during operation.
  • Housing Design: The housing of the ratchet and pawl mechanism must provide structural support and protection for the components. It must also be designed to prevent external interference and ensure smooth operation.

📝 Note: The design of the ratchet and pawl mechanism must be tailored to the specific application requirements. Factors such as load, speed, and environmental conditions must be considered to ensure smooth and reliable operation.

Advantages and Disadvantages

The ratchet and pawl mechanism offers several advantages, making it a popular choice in various applications. However, it also has some disadvantages that must be considered. Understanding these advantages and disadvantages is essential for selecting the right mechanism for a particular application.

Advantages Disadvantages
  • Unidirectional Motion: The ratchet and pawl mechanism allows for motion in one direction while preventing it in the opposite direction, making it ideal for applications where unidirectional motion is required.
  • Simple Design: The ratchet and pawl mechanism has a simple design, making it easy to manufacture and maintain. Its simplicity also makes it reliable and durable.
  • Versatility: The ratchet and pawl mechanism can be used in a wide range of applications, from hand tools to industrial machinery. Its versatility makes it a popular choice in various industries.
  • Cost-Effective: The ratchet and pawl mechanism is cost-effective, making it an affordable option for many applications. Its simple design and ease of manufacture contribute to its cost-effectiveness.
  • Limited Motion: The ratchet and pawl mechanism allows for motion in only one direction, which may be a limitation in some applications. In applications where bidirectional motion is required, a different mechanism may be more suitable.
  • Wear and Tear: The ratchet and pawl mechanism is subject to wear and tear, especially in high-load or high-speed applications. Regular maintenance and replacement of components may be required to ensure smooth operation.
  • Noise: The ratchet and pawl mechanism can be noisy during operation, especially in high-speed applications. This may be a concern in applications where noise levels must be kept to a minimum.
  • Limited Precision: The ratchet and pawl mechanism may not be suitable for applications that require high precision. The design of the teeth and the pawl may result in slight variations in motion, which may be a limitation in some applications.

Maintenance and Troubleshooting

Maintaining the ratchet and pawl mechanism is essential for ensuring its smooth and reliable operation. Regular maintenance and troubleshooting can help identify and address potential issues before they become major problems. Some tips for maintaining and troubleshooting the ratchet and pawl mechanism include:

  • Regular Inspection: Regularly inspect the ratchet and pawl mechanism for signs of wear and tear. Check the teeth on the ratchet and the pawl for any damage or wear. Replace any damaged or worn components as needed.
  • Lubrication: Lubricate the ratchet and pawl mechanism regularly to ensure smooth operation. Use a suitable lubricant that is compatible with the materials used in the construction of the mechanism.
  • Cleaning: Clean the ratchet and pawl mechanism regularly to remove any dirt or debris that may interfere with its operation. Use a suitable cleaning agent that is compatible with the materials used in the construction of the mechanism.
  • Adjustment: Adjust the ratchet and pawl mechanism as needed to ensure smooth operation. Check the engagement of the pawl with the ratchet and adjust the spring tension if necessary.
  • Troubleshooting: If the ratchet and pawl mechanism is not operating smoothly, troubleshoot the issue by checking the components for any damage or wear. Replace any damaged or worn components as needed and adjust the mechanism as necessary.

📝 Note: Regular maintenance and troubleshooting can help extend the lifespan of the ratchet and pawl mechanism and ensure its smooth and reliable operation. Always follow the manufacturer's guidelines for maintenance and troubleshooting.

In summary, the ratchet and pawl mechanism is a fundamental and versatile device that allows for unidirectional motion. Its simple design, versatility, and cost-effectiveness make it a popular choice in various applications, from hand tools to industrial machinery. Understanding the components, principles of operation, and design considerations of the ratchet and pawl mechanism is essential for selecting the right mechanism for a particular application and ensuring its smooth and reliable operation. Regular maintenance and troubleshooting can help extend the lifespan of the ratchet and pawl mechanism and ensure its continued performance. Whether you are a mechanical engineer, a hobbyist, or simply curious about mechanical devices, the ratchet and pawl mechanism is a fascinating and essential component to explore.

Related Terms:

  • ratchet and pawl mechanism applications
  • ratchet and pawl examples
  • ratchet mechanism meaning
  • ratchet and pawl mechanism gif
  • pawl design
  • ratchet and pawl mechanism diagram