Parts Of Stethoscope

Parts Of Stethoscope

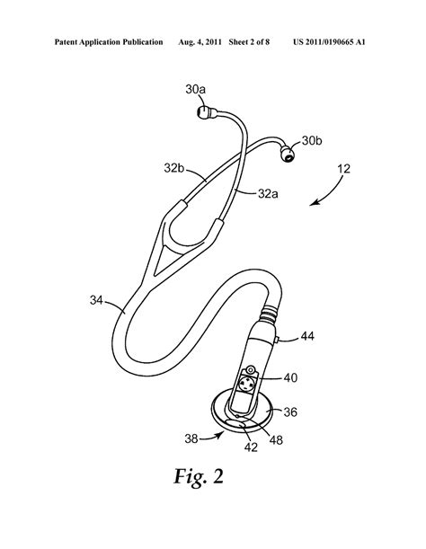
The stethoscope is an indispensable tool in the medical field, used by healthcare professionals to listen to internal body sounds. Understanding the parts of stethoscope and their functions is crucial for anyone in the medical profession. This guide will delve into the anatomy of a stethoscope, its various components, and how each part contributes to its overall functionality.

Understanding the Basic Parts of a Stethoscope

A stethoscope is composed of several key parts, each serving a specific purpose. The primary components include the chestpiece, the tubing, the headset, and the eartips. Let's explore each of these parts in detail.

The Chestpiece

The chestpiece is the part of the stethoscope that comes into direct contact with the patient's body. It is designed to capture and transmit sounds from the body to the healthcare professional's ears. The chestpiece typically consists of two sides: the diaphragm and the bell.

The diaphragm is a flat, disc-shaped surface that is ideal for capturing high-frequency sounds, such as breath sounds and heart murmurs. It is usually made of plastic or metal and is designed to be placed directly on the patient's skin.

The bell, on the other hand, is a smaller, cup-shaped surface that is better suited for capturing low-frequency sounds, such as heart sounds and bowel sounds. It is often used to listen to deeper body sounds and is typically placed on the skin with a small amount of pressure.

The Tubing

The tubing connects the chestpiece to the headset and is responsible for transmitting the sounds captured by the chestpiece to the earpieces. The tubing is usually made of flexible, durable material, such as PVC or silicone, to ensure comfort and longevity. The length of the tubing can vary, but it is typically around 22-28 inches long to provide enough distance between the healthcare professional and the patient.

It is important to note that the tubing should be checked regularly for any cracks or damage, as this can affect the quality of the sound transmission. Additionally, the tubing should be cleaned and disinfected regularly to prevent the spread of infections.

The Headset

The headset consists of two earpieces connected by a metal or plastic binaural tube. The earpieces are designed to fit comfortably into the healthcare professional's ears and are responsible for transmitting the sounds from the tubing to the eardrums. The binaural tube can be adjusted to fit the size and shape of the user's head, ensuring a secure and comfortable fit.

The earpieces are typically made of soft, flexible material, such as silicone or foam, to provide comfort during extended use. They should be replaced regularly to maintain optimal sound quality and hygiene.

The Eartips

The eartips are the parts of the stethoscope that fit into the user's ears. They are designed to create a seal around the ear canal, ensuring that the sounds transmitted through the tubing are heard clearly and without distortion. Eartips are usually made of soft, flexible material, such as silicone or foam, to provide comfort and a secure fit.

There are different types of eartips available, including standard, snap-on, and soft-seal eartips. Standard eartips are the most common and are designed to fit most ear sizes. Snap-on eartips are designed to snap onto the earpieces, providing a secure fit and easy replacement. Soft-seal eartips are designed to provide a more comfortable fit and are ideal for users who wear glasses or have sensitive ears.

Specialized Parts of a Stethoscope

In addition to the basic parts, some stethoscopes come with specialized features that enhance their functionality. These features can include different types of chestpieces, additional tubing, and advanced earpieces.

Dual-Head Chestpieces

Some stethoscopes come with dual-head chestpieces, which allow the user to switch between the diaphragm and the bell without having to remove the chestpiece from the tubing. This feature is particularly useful for healthcare professionals who need to listen to a variety of sounds quickly and efficiently.

Dual-head chestpieces typically have a switch or lever that allows the user to toggle between the diaphragm and the bell. This switch is usually located on the chestpiece itself and can be operated with one hand, making it easy to use in a clinical setting.

Electronic Stethoscopes

Electronic stethoscopes are a more advanced type of stethoscope that use digital technology to amplify and enhance the sounds captured by the chestpiece. These stethoscopes typically come with additional features, such as noise-cancelling technology, adjustable volume controls, and the ability to record and playback sounds.

Electronic stethoscopes are particularly useful for healthcare professionals who work in noisy environments, as they can help to filter out background noise and enhance the clarity of the sounds being listened to. They are also useful for educational purposes, as they allow students to listen to and analyze sounds in real-time.

Pediatric and Infant Stethoscopes

Pediatric and infant stethoscopes are designed specifically for use with children and infants. These stethoscopes typically have smaller chestpieces and shorter tubing, making them easier to use with smaller patients. They may also come with additional features, such as colorful designs or soft, flexible eartips, to make them more appealing to children.

Pediatric and infant stethoscopes are an essential tool for healthcare professionals who work with young patients, as they allow for more accurate and comfortable examinations.

Maintaining and Cleaning Your Stethoscope

Proper maintenance and cleaning of your stethoscope are essential to ensure its longevity and effectiveness. Here are some tips for maintaining and cleaning your stethoscope:

  • Inspect Regularly: Check your stethoscope for any signs of wear and tear, such as cracks in the tubing or damage to the chestpiece. Replace any damaged parts as soon as possible to maintain optimal performance.
  • Clean Regularly: Clean your stethoscope regularly to prevent the spread of infections. Use a mild soap and water solution to clean the chestpiece, tubing, and earpieces. Avoid using harsh chemicals or abrasive materials, as these can damage the stethoscope.
  • Disinfect: Disinfect your stethoscope regularly using an alcohol-based disinfectant. Apply the disinfectant to a cloth or cotton swab and wipe down the chestpiece, tubing, and earpieces. Allow the stethoscope to air dry completely before using it again.
  • Store Properly: Store your stethoscope in a clean, dry place when not in use. Avoid exposing it to extreme temperatures or direct sunlight, as this can damage the materials.
  • Replace Parts: Replace the eartips and tubing regularly to maintain optimal sound quality and hygiene. Most manufacturers recommend replacing the eartips every 6-12 months and the tubing every 2-3 years.

🔍 Note: Always follow the manufacturer's instructions for cleaning and disinfecting your stethoscope to ensure its longevity and effectiveness.

Choosing the Right Stethoscope

Choosing the right stethoscope depends on your specific needs and preferences. Here are some factors to consider when selecting a stethoscope:

  • Purpose: Consider the purpose for which you will be using the stethoscope. If you are a healthcare professional who works with a variety of patients, you may need a stethoscope with a dual-head chestpiece or additional features, such as noise-cancelling technology.
  • Budget: Stethoscopes can range in price from a few dollars to several hundred dollars. Consider your budget when selecting a stethoscope, but keep in mind that investing in a high-quality stethoscope can save you money in the long run by reducing the need for frequent replacements.
  • Comfort: Comfort is an important factor to consider when selecting a stethoscope. Look for a stethoscope with soft, flexible eartips and adjustable tubing to ensure a comfortable fit.
  • Durability: Durability is another important factor to consider. Look for a stethoscope made of high-quality materials that can withstand frequent use and cleaning.
  • Brand: Consider the brand of the stethoscope. Some brands are known for their high-quality products and excellent customer service.

Here is a table summarizing the key features of different types of stethoscopes:

Type of Stethoscope Key Features Best For
Acoustic Stethoscope Basic design with diaphragm and bell, affordable General use, students, and budget-conscious users
Dual-Head Stethoscope Switchable diaphragm and bell, versatile Healthcare professionals needing versatility
Electronic Stethoscope Amplified sound, noise-cancelling, recording capabilities Professionals in noisy environments, educational purposes
Pediatric/Infant Stethoscope Smaller chestpiece, shorter tubing, child-friendly designs Pediatricians and healthcare professionals working with children

When selecting a stethoscope, it is important to consider your specific needs and preferences. Take the time to research different types of stethoscopes and read reviews from other users to find the one that best suits your needs.

Additionally, consider trying out different stethoscopes before making a purchase. Many medical supply stores offer demo models that you can test to see how they feel and sound. This can help you make an informed decision and ensure that you are getting a stethoscope that meets your needs.

Finally, don't forget to consider the warranty and customer service offered by the manufacturer. A good warranty can provide peace of mind and protect your investment, while excellent customer service can help you resolve any issues that may arise.

In conclusion, understanding the parts of stethoscope and their functions is essential for anyone in the medical profession. From the chestpiece and tubing to the headset and eartips, each part plays a crucial role in the stethoscope’s overall functionality. By choosing the right stethoscope and maintaining it properly, you can ensure that you have a reliable tool for listening to internal body sounds and providing quality care to your patients.

Related Terms:

  • stethoscope diagram with label
  • different parts of a stethoscope
  • different types of stethoscopes
  • part of stethoscopes and functions
  • stethoscope part name
  • stethoscope replacement parts