Kitchenaid Mixer Parts Diagram

Kitchenaid Mixer Parts Diagram

When it comes to baking and cooking, having the right tools can make all the difference. One of the most versatile and reliable tools in any kitchen is the KitchenAid Mixer. Whether you're a seasoned baker or just starting out, understanding the various Kitchenaid Mixer Parts Diagram can help you get the most out of your appliance. This guide will walk you through the essential components of a KitchenAid Mixer, their functions, and how to maintain them for optimal performance.

Understanding the Basics of a KitchenAid Mixer

A KitchenAid Mixer is a powerful and versatile kitchen appliance designed to handle a wide range of tasks, from mixing dough to whipping cream. The mixer consists of several key components, each playing a crucial role in its operation. Familiarizing yourself with these parts can help you troubleshoot issues, perform maintenance, and even upgrade your mixer with additional accessories.

Key Components of a KitchenAid Mixer

Let's dive into the main parts of a KitchenAid Mixer and their functions. Understanding these components will give you a better grasp of how your mixer works and how to keep it in top condition.

Motor

The motor is the heart of your KitchenAid Mixer. It provides the power needed to drive the mixing attachments. KitchenAid Mixers come with different motor sizes, typically ranging from 250 to 575 watts. The motor's power determines how well the mixer can handle heavy-duty tasks like kneading bread dough or mixing thick batters.

Gearbox

The gearbox is responsible for transmitting the motor's power to the mixing attachments. It ensures that the attachments rotate at the correct speed and torque for the task at hand. The gearbox is a critical component, and any issues with it can affect the mixer's performance.

Mixing Bowl

The mixing bowl is where all the action happens. It comes in various sizes, typically ranging from 4.5 to 7 quarts, depending on the model. The bowl is designed to hold ingredients securely while they are mixed. Some models come with a flat bottom for better mixing efficiency.

Mixing Attachments

KitchenAid Mixers come with several mixing attachments, each designed for specific tasks. The most common attachments include:

  • Flat Beater: Ideal for mixing thick batters and doughs. It ensures even mixing and prevents ingredients from sticking to the sides of the bowl.
  • Dough Hook: Perfect for kneading bread dough. It mimics the action of hand-kneading, resulting in a smooth and elastic dough.
  • Wire Whip: Used for whipping cream, egg whites, and other light mixtures. It incorporates air into the mixture, creating a fluffy texture.

📝 Note: Always ensure that the mixing attachment is securely locked into the mixer before starting. This prevents accidents and ensures efficient mixing.

Speed Control

The speed control allows you to adjust the mixing speed to suit your recipe. Most KitchenAid Mixers offer multiple speed settings, ranging from low to high. Some models also come with a pulse function for precise control over the mixing process.

Power Hub

The power hub is the attachment point for the mixing attachments. It is located on the front of the mixer and is designed to accommodate a wide range of attachments, from mixers to grinders and slicers. The power hub is a versatile feature that expands the functionality of your KitchenAid Mixer.

Control Panel

The control panel houses the speed control, power switch, and other controls. It is typically located on the front of the mixer and is designed for easy access and use. The control panel may also include additional features like a timer or digital display, depending on the model.

Base

The base provides stability and support for the mixer. It is usually made of heavy-duty materials like die-cast metal or plastic. The base also houses the motor and gearbox, ensuring that the mixer remains stable during operation.

The head of the mixer houses the mixing attachments and the power hub. It can be tilted or lifted to access the mixing bowl and attachments. The head is designed to be easy to use, with a smooth tilting mechanism that allows for effortless operation.

Cord and Plug

The cord and plug provide power to the mixer. They are designed to be durable and flexible, allowing for easy movement and storage. The plug is typically a standard three-prong type, ensuring compatibility with most household outlets.

Maintaining Your KitchenAid Mixer

Regular maintenance is essential to keep your KitchenAid Mixer in top condition. Here are some tips to help you maintain your mixer and extend its lifespan.

Cleaning

Cleaning your KitchenAid Mixer is crucial for maintaining its performance and hygiene. Here are some steps to follow:

  • Unplug the mixer before cleaning.
  • Remove the mixing bowl and attachments, and wash them with warm, soapy water. Use a soft brush to clean hard-to-reach areas.
  • Wipe down the exterior of the mixer with a damp cloth. Avoid using abrasive cleaners or solvents, as they can damage the finish.
  • Clean the power hub and head with a soft brush or cloth. Remove any debris or residue that may have accumulated.

📝 Note: Never submerge the mixer in water or use a dishwasher to clean it. This can damage the electrical components and void the warranty.

Lubrication

Lubricating the moving parts of your KitchenAid Mixer can help reduce wear and tear and ensure smooth operation. Use a food-grade lubricant to grease the gearbox and other moving parts. Follow the manufacturer's guidelines for the type and amount of lubricant to use.

Storage

Proper storage is essential to protect your KitchenAid Mixer from damage. Store the mixer in a cool, dry place, away from direct sunlight and heat sources. Keep the mixer covered to prevent dust and debris from accumulating. When not in use, remove the mixing attachments and store them separately to prevent damage.

Troubleshooting Common Issues

Even with proper maintenance, issues can arise with your KitchenAid Mixer. Here are some common problems and their solutions:

  • Mixer won't turn on: Check the power cord and plug for any damage. Ensure that the mixer is properly plugged in and that the outlet is functioning. If the problem persists, there may be an issue with the motor or control panel.
  • Mixing attachments won't lock in: Ensure that the attachment is properly aligned with the power hub. Check for any debris or residue that may be preventing the attachment from locking in. If the problem continues, there may be an issue with the power hub or attachment.
  • Mixer is making unusual noises: Check for any loose or damaged parts. Ensure that the mixing attachments are securely locked in. If the noise persists, there may be an issue with the gearbox or motor.

📝 Note: If you encounter any issues with your KitchenAid Mixer, consult the user manual or contact customer support for assistance. Attempting to repair the mixer yourself can void the warranty and cause further damage.

Upgrading Your KitchenAid Mixer

One of the great things about KitchenAid Mixers is their versatility. With the right attachments, you can transform your mixer into a multi-functional kitchen tool. Here are some popular attachments to consider:

Food Grinder

The food grinder attachment allows you to grind meat, vegetables, and other ingredients. It is perfect for making homemade sausages, burgers, and other dishes. The grinder comes with multiple plates for different grinding sizes and a stomper for pushing ingredients through.

Pasta Maker

The pasta maker attachment lets you create fresh, homemade pasta. It comes with multiple dies for different pasta shapes and sizes. The pasta maker is easy to use and clean, making it a great addition to any kitchen.

Slicer/Shredder

The slicer/shredder attachment is perfect for slicing and shredding vegetables, cheese, and other ingredients. It comes with multiple blades for different slicing and shredding sizes. The attachment is easy to use and clean, making it a versatile tool for any kitchen.

Juicer

The juicer attachment allows you to extract juice from fruits and vegetables. It is perfect for making fresh, healthy juices at home. The juicer comes with multiple screens for different juice consistencies and is easy to clean.

Ice Cream Maker

The ice cream maker attachment lets you make homemade ice cream, sorbet, and other frozen treats. It is easy to use and clean, making it a great addition to any kitchen. The attachment comes with a freezer bowl that needs to be frozen before use.

KitchenAid Mixer Parts Diagram

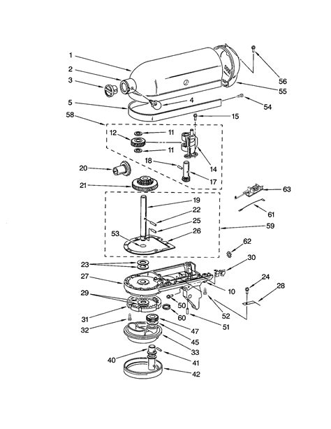
Understanding the Kitchenaid Mixer Parts Diagram is essential for maintaining and troubleshooting your mixer. Here is a breakdown of the key components and their locations:

Component Location Function
Motor Base Provides power to the mixer
Gearbox Base Transmits power to the mixing attachments
Mixing Bowl Head Holds ingredients during mixing
Mixing Attachments Power Hub Perform specific mixing tasks
Speed Control Control Panel Adjusts mixing speed
Power Hub Head Attachment point for mixing attachments
Control Panel Front of Mixer Houses speed control and power switch
Base Bottom of Mixer Provides stability and support
Head Top of Mixer Houses mixing attachments and power hub
Cord and Plug Back of Mixer Provides power to the mixer

📝 Note: Refer to the user manual for a detailed Kitchenaid Mixer Parts Diagram and specific instructions on maintenance and troubleshooting.

KitchenAid Mixer

KitchenAid Mixer

In summary, the KitchenAid Mixer is a versatile and reliable kitchen appliance that can handle a wide range of tasks. Understanding the various Kitchenaid Mixer Parts Diagram and their functions is essential for maintaining and troubleshooting your mixer. Regular cleaning, lubrication, and proper storage can help extend the lifespan of your mixer and ensure optimal performance. With the right attachments, you can transform your KitchenAid Mixer into a multi-functional kitchen tool, making it an invaluable addition to any kitchen. Whether you’re a seasoned baker or just starting out, the KitchenAid Mixer is a tool that will serve you well for years to come.

Related Terms:

  • kitchenaid mixer schematic diagram
  • replacement kitchenaid mixer parts diagram
  • kitchenaid mixer parts list pdf
  • kitchenaid mixer parts replacement
  • kitchenaid mixer parts catalog
  • kitchenaid mixer parts list