Cantilever Retaining Wall

Cantilever Retaining Wall

Cantilever retaining walls are a critical component in civil engineering and construction, providing essential support and stability to various structures. These walls are designed to hold back soil, water, or other materials, preventing erosion and ensuring the integrity of the surrounding landscape. Understanding the design, construction, and maintenance of cantilever retaining walls is crucial for engineers, architects, and contractors involved in infrastructure projects.

Understanding Cantilever Retaining Walls

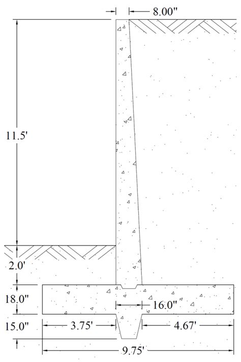
A cantilever retaining wall is a type of retaining wall that uses a cantilevered design to support the load of the retained material. This design involves a base slab, a stem, and a heel. The base slab is anchored into the ground, providing stability, while the stem extends vertically to hold back the soil. The heel, which is the portion of the base slab that extends beyond the stem, helps to distribute the load and prevent overturning.

Cantilever retaining walls are commonly used in residential, commercial, and infrastructure projects due to their cost-effectiveness and simplicity. They are particularly useful in situations where space is limited, as they do not require extensive excavation or backfill. However, their design and construction must be carefully planned to ensure long-term stability and performance.

Design Considerations for Cantilever Retaining Walls

Designing a cantilever retaining wall involves several key considerations to ensure it can withstand the forces exerted by the retained material. These considerations include:

  • Soil Properties: Understanding the soil's properties, such as its density, cohesion, and friction angle, is crucial for determining the wall's design. Soil tests and analyses are often conducted to gather this information.
  • Load Calculations: Accurate load calculations are essential to determine the wall's dimensions and reinforcement requirements. This includes calculating the active earth pressure, which is the lateral pressure exerted by the soil on the wall.
  • Stability Analysis: Stability analysis involves assessing the wall's resistance to various failure modes, such as sliding, overturning, and bearing capacity failure. This analysis helps ensure the wall can safely support the retained material.
  • Drainage: Proper drainage is critical to prevent water buildup behind the wall, which can increase the lateral pressure and lead to failure. Drainage systems, such as weep holes and drainage pipes, are often incorporated into the design.

Additionally, the design must comply with local building codes and standards, which may specify minimum dimensions, reinforcement requirements, and other design criteria.

Construction of Cantilever Retaining Walls

The construction of a cantilever retaining wall involves several steps, each requiring careful attention to detail to ensure the wall's stability and longevity. The typical construction process includes:

  • Site Preparation: The site is prepared by clearing vegetation, excavating the area, and ensuring a level surface for construction. Proper site preparation is essential to provide a stable foundation for the wall.
  • Foundation Construction: The foundation, consisting of a base slab and footing, is constructed to provide a stable base for the wall. The base slab is typically reinforced with steel rebar to enhance its strength and stability.
  • Stem Construction: The stem, which is the vertical portion of the wall, is constructed using reinforced concrete. The stem's dimensions and reinforcement are designed to withstand the lateral pressure exerted by the retained material.
  • Heel Construction: The heel, which extends beyond the stem, is constructed to distribute the load and prevent overturning. The heel is typically reinforced with steel rebar to enhance its strength.
  • Backfill and Compaction: The area behind the wall is backfilled with compacted soil to provide additional support and stability. Proper compaction is essential to prevent settlement and ensure the wall's long-term performance.
  • Drainage Installation: Drainage systems, such as weep holes and drainage pipes, are installed to prevent water buildup behind the wall. Proper drainage is critical to maintain the wall's stability and prevent failure.

Throughout the construction process, quality control measures are implemented to ensure the wall's dimensions, reinforcement, and materials meet the design specifications. Regular inspections and testing are conducted to identify and address any issues that may arise.

🔍 Note: It is essential to follow the design specifications and construction guidelines provided by the engineer or architect to ensure the cantilever retaining wall's stability and longevity.

Maintenance of Cantilever Retaining Walls

Maintaining a cantilever retaining wall is crucial to ensure its long-term performance and prevent failure. Regular inspections and maintenance activities help identify and address potential issues before they become significant problems. Key maintenance tasks include:

  • Inspections: Regular visual inspections of the wall's surface, joints, and drainage systems help identify cracks, settlement, or other signs of distress. Inspections should be conducted at least annually, or more frequently in areas with heavy rainfall or seismic activity.
  • Drainage Maintenance: Ensuring the drainage systems are functioning properly is essential to prevent water buildup behind the wall. Clogged weep holes or drainage pipes should be cleared promptly to maintain effective drainage.
  • Vegetation Control: Controlling vegetation growth on and around the wall helps prevent root intrusion, which can damage the wall's structure. Regular trimming and removal of vegetation are necessary to maintain the wall's integrity.
  • Repairs: Addressing any cracks, settlement, or other signs of distress promptly is crucial to prevent further damage. Minor repairs, such as sealing cracks or re-compacting soil, can often be performed by the property owner. However, more significant repairs may require the expertise of a professional engineer or contractor.

By following a regular maintenance schedule, property owners can extend the lifespan of their cantilever retaining wall and ensure its continued performance.

Common Issues with Cantilever Retaining Walls

Despite their durability and effectiveness, cantilever retaining walls can encounter various issues that compromise their stability and performance. Some common problems include:

  • Cracking: Cracks in the wall's surface can indicate underlying structural issues, such as settlement or inadequate reinforcement. Regular inspections can help identify cracks early, allowing for timely repairs.
  • Settlement: Settlement occurs when the soil beneath the wall shifts or compacts, causing the wall to sink or tilt. Proper site preparation and foundation construction can help prevent settlement.
  • Water Damage: Water buildup behind the wall can increase lateral pressure, leading to failure. Proper drainage systems and regular maintenance can prevent water-related issues.
  • Root Intrusion: Vegetation growth near the wall can cause root intrusion, damaging the wall's structure. Controlling vegetation and regular inspections can help prevent root-related problems.

Addressing these issues promptly is essential to maintain the wall's stability and prevent more significant problems.

Cantilever Retaining Wall Design Examples

Cantilever retaining walls can be designed in various configurations to suit different project requirements. Here are a few examples of cantilever retaining wall designs:

Residential Retaining Wall

For residential projects, cantilever retaining walls are often used to create terraced gardens, support driveways, or retain soil on sloped properties. These walls are typically designed to be aesthetically pleasing, with finishes such as stucco, brick, or stone veneer. The design considerations for residential retaining walls include:

  • Height: Typically ranges from 3 to 6 feet (1 to 2 meters).
  • Soil Type: Usually consists of well-compacted fill or native soil.
  • Loads: Primarily supports soil and minor surcharge loads.

Commercial Retaining Wall

In commercial projects, cantilever retaining walls are used to support parking lots, buildings, and other structures. These walls are designed to withstand heavier loads and more significant lateral pressures. The design considerations for commercial retaining walls include:

  • Height: Can range from 6 to 20 feet (2 to 6 meters) or more.
  • Soil Type: May include a variety of soil types, including clay, sand, and gravel.
  • Loads: Supports soil, surcharge loads, and sometimes vehicular traffic.

Infrastructure Retaining Wall

For infrastructure projects, such as highways, bridges, and dams, cantilever retaining walls are designed to support large-scale structures and withstand significant loads. These walls are often constructed using reinforced concrete and may include additional features such as drainage systems and erosion control measures. The design considerations for infrastructure retaining walls include:

  • Height: Can exceed 20 feet (6 meters).
  • Soil Type: May include a variety of soil types, including rock and gravel.
  • Loads: Supports soil, surcharge loads, and sometimes dynamic loads from traffic or seismic activity.

Each of these examples illustrates the versatility of cantilever retaining walls and their ability to adapt to various project requirements.

Cantilever Retaining Wall Cost Considerations

The cost of constructing a cantilever retaining wall can vary significantly depending on several factors. Understanding these cost considerations is essential for budgeting and planning purposes. Key factors influencing the cost include:

  • Material Costs: The type and quality of materials used in construction, such as concrete, steel rebar, and drainage systems, can significantly impact the overall cost.
  • Labor Costs: The cost of labor, including excavation, formwork, and concrete placement, can vary based on the project's location and complexity.
  • Site Conditions: The site's accessibility, soil conditions, and any necessary site preparation can affect the cost. For example, rocky or unstable soil may require additional excavation or stabilization measures.
  • Design Complexity: The complexity of the design, including the wall's height, shape, and reinforcement requirements, can influence the cost. More complex designs may require additional engineering and construction time.
  • Permits and Regulations: Obtaining necessary permits and complying with local building codes and regulations can add to the overall cost. This may include fees for permits, inspections, and any required environmental assessments.

To get a more accurate estimate of the cost, it is recommended to consult with a professional engineer or contractor who can assess the specific project requirements and provide a detailed cost breakdown.

💡 Note: It is essential to consider both short-term and long-term costs when planning a cantilever retaining wall project. While initial construction costs are important, ongoing maintenance and potential repair costs should also be factored into the overall budget.

Cantilever Retaining Wall vs. Other Retaining Wall Types

Cantilever retaining walls are just one type of retaining wall available for various construction projects. Understanding the differences between cantilever retaining walls and other types can help in selecting the most appropriate solution for a specific application. Here is a comparison of cantilever retaining walls with other common types:

Type of Retaining Wall Description Advantages Disadvantages
Cantilever Retaining Wall A wall that uses a cantilevered design to support the load of the retained material, consisting of a base slab, stem, and heel. Cost-effective, simple design, suitable for limited space. Limited height, susceptible to settlement and water damage.
Gravity Retaining Wall A wall that relies on its own weight to resist the lateral pressure of the retained material, typically constructed using concrete blocks or masonry. Simple construction, aesthetically pleasing, suitable for low to medium heights. Requires significant space for backfill, not suitable for high walls.
Sheet Pile Retaining Wall A wall constructed using interlocking steel sheets driven into the ground to retain soil and water. Suitable for temporary or permanent applications, can be installed in tight spaces. Higher cost, requires specialized equipment for installation.
Anchored Retaining Wall A wall that uses anchors or tiebacks to provide additional support and stability, often used in high walls or unstable soil conditions. Suitable for high walls, can be used in unstable soil conditions. Higher cost, more complex design and installation.

Each type of retaining wall has its own advantages and disadvantages, and the choice of wall type depends on the specific project requirements, site conditions, and budget constraints.

Cantilever retaining walls are particularly well-suited for applications where space is limited and cost is a significant factor. However, for higher walls or more challenging soil conditions, other types of retaining walls may be more appropriate.

In some cases, a combination of retaining wall types may be used to achieve the desired stability and performance. For example, a cantilever retaining wall may be combined with an anchored system to provide additional support in high walls or unstable soil conditions.

Consulting with a professional engineer or contractor can help determine the most suitable retaining wall type for a specific project.

📏 Note: The selection of the retaining wall type should be based on a thorough analysis of the site conditions, project requirements, and budget constraints. It is essential to consider both short-term and long-term factors when making this decision.

Cantilever retaining walls are a versatile and cost-effective solution for many construction projects. By understanding their design, construction, and maintenance requirements, engineers, architects, and contractors can ensure the long-term stability and performance of these essential structures.

Regular inspections, proper drainage, and timely repairs are crucial to maintaining the integrity of cantilever retaining walls. Addressing common issues such as cracking, settlement, and water damage promptly can prevent more significant problems and extend the lifespan of the wall.

When comparing cantilever retaining walls to other types, it is essential to consider the specific project requirements, site conditions, and budget constraints. Each type of retaining wall has its own advantages and disadvantages, and the choice of wall type should be based on a thorough analysis of these factors.

In conclusion, cantilever retaining walls play a critical role in civil engineering and construction, providing essential support and stability to various structures. By understanding their design, construction, and maintenance requirements, professionals can ensure the long-term performance and safety of these important structures. Regular inspections, proper drainage, and timely repairs are key to maintaining the integrity of cantilever retaining walls and preventing potential issues. Whether used in residential, commercial, or infrastructure projects, cantilever retaining walls offer a reliable and cost-effective solution for retaining soil and water, ensuring the stability and longevity of the surrounding landscape.

Related Terms:

  • anchored retaining wall
  • rcc cantilever retaining wall
  • precast cantilever retaining wall
  • counterfort retaining wall
  • cantilever retaining wall design excel
  • cantilever retaining wall definition