Cable Modem Termination

Cable Modem Termination

In the modern digital age, high-speed internet connectivity is no longer a luxury but a necessity. One of the key components that facilitate this connectivity is the cable modem. Understanding the intricacies of cable modem termination is crucial for anyone looking to optimize their internet experience. This post delves into the technical aspects of cable modem termination, its importance, and how it impacts your internet performance.

Understanding Cable Modem Termination

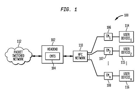
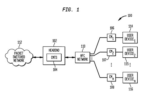
Cable modem termination refers to the process by which a cable modem connects to the internet service provider's (ISP) network. This connection is established through a series of steps that involve both hardware and software components. The primary goal of cable modem termination is to ensure a stable and reliable internet connection.

To understand this process better, let's break it down into its core components:

  • Cable Modem: This is the device that converts digital data into a format that can be transmitted over coaxial cables. It acts as a bridge between your home network and the ISP's network.
  • Coaxial Cable: This is the physical medium through which data is transmitted. It is commonly used in cable television and internet services.
  • Cable Modem Termination System (CMTS): This is a piece of equipment located at the ISP's end that manages the data flow between the cable modem and the internet. It handles the termination of the cable modem connection.

The Importance of Cable Modem Termination

Effective cable modem termination is vital for several reasons:

  • Stability: Proper termination ensures that your internet connection is stable and free from interruptions. This is particularly important for activities that require a consistent connection, such as online gaming or video conferencing.
  • Speed: A well-terminated cable modem can significantly enhance your internet speed. This is because the data transmission is optimized, reducing latency and improving overall performance.
  • Security: Proper termination also plays a role in securing your internet connection. It helps prevent unauthorized access and ensures that your data is transmitted securely.

Steps Involved in Cable Modem Termination

The process of cable modem termination involves several steps. Here is a detailed overview:

1. Physical Connection

The first step is to physically connect the cable modem to the coaxial cable. This involves:

  • Connecting one end of the coaxial cable to the cable outlet in your home.
  • Connecting the other end to the cable modem.

Ensure that the connections are secure and that there are no loose wires.

2. Powering On the Modem

Once the physical connection is established, the next step is to power on the cable modem. This is typically done by plugging the modem into a power source. Most cable modems have an indicator light that shows when they are powered on and connected to the network.

3. Initialization

After powering on, the cable modem goes through an initialization process. During this phase, the modem establishes a connection with the CMTS. This involves:

  • Sending a request to the CMTS to establish a connection.
  • Receiving configuration settings from the CMTS.
  • Configuring the modem based on the received settings.

This process can take a few minutes, and the modem's indicator lights will show the progress.

4. Authentication

Once the initialization is complete, the modem undergoes an authentication process. This involves:

  • Verifying the modem's credentials with the ISP.
  • Ensuring that the modem is authorized to connect to the network.

If the authentication is successful, the modem will be granted access to the internet.

5. Data Transmission

After successful authentication, the modem is ready to transmit data. This involves:

  • Receiving data packets from the ISP.
  • Converting the data into a format that can be used by your devices.
  • Transmitting the data to your devices via Ethernet or Wi-Fi.

This process is continuous, ensuring that you have a stable internet connection.

🔍 Note: The exact steps and indicators may vary depending on the make and model of your cable modem. Always refer to the manufacturer's instructions for specific details.

Common Issues and Troubleshooting

Despite the robust nature of cable modem termination, issues can still arise. Here are some common problems and their solutions:

1. No Internet Connection

If your cable modem is not providing an internet connection, check the following:

  • Ensure that all physical connections are secure.
  • Restart the modem by unplugging it from the power source and plugging it back in after a few minutes.
  • Check the indicator lights on the modem to diagnose any issues.

2. Slow Internet Speed

If you are experiencing slow internet speeds, consider the following:

  • Check for any physical obstructions or damage to the coaxial cable.
  • Ensure that your modem is placed in an optimal location, away from electronic interference.
  • Contact your ISP to check for any network issues on their end.

3. Intermittent Connection

If your internet connection is intermittent, try the following:

  • Check for any loose connections or damaged cables.
  • Restart the modem and router to refresh the connection.
  • Update the firmware of your modem to the latest version.

🔍 Note: If the issue persists, it may be necessary to contact your ISP for further assistance.

Optimizing Cable Modem Termination

To ensure optimal performance, consider the following tips for cable modem termination:

  • Regular Maintenance: Regularly check the physical connections and ensure that there is no damage to the cables.
  • Firmware Updates: Keep your modem's firmware up to date to benefit from the latest performance improvements and security patches.
  • Optimal Placement: Place your modem in a location that minimizes interference from other electronic devices.
  • Quality Cables: Use high-quality coaxial cables to ensure reliable data transmission.

The technology behind cable modems is continually evolving. Some of the future trends to watch out for include:

  • Faster Speeds: Advances in technology are leading to faster internet speeds, with some modems already capable of delivering gigabit speeds.
  • Improved Security: Enhanced security features are being integrated into cable modems to protect against cyber threats.
  • Smart Modems: The development of smart modems that can self-diagnose and troubleshoot issues, providing a more seamless user experience.

These advancements are set to revolutionize the way we experience the internet, making it faster, more secure, and more reliable.

Cable modem termination is a critical aspect of modern internet connectivity. By understanding the process and taking steps to optimize it, you can ensure a stable, fast, and secure internet connection. Whether you are a casual user or a tech enthusiast, knowing the intricacies of cable modem termination can significantly enhance your online experience.

As technology continues to evolve, so too will the methods and equipment used for cable modem termination. Staying informed about these advancements can help you make the most of your internet connection and enjoy the benefits of high-speed, reliable internet access.

Related Terms:

  • what is cmts in networking
  • cable modem termination system market
  • cmts full form
  • what does cmts stand for
  • cmts and converged cable
  • what does cmts mean